Тахион ПИП-25/45А
- Производитель: Тахион
- Пришлите полную спецификацию на почту zakaz@deviceden.ru и получите оптовую скидку.
- Срок доставки:1-2 дня
- Минимальный заказ:3000 руб.
- Мы принимаем:Безналичная оплата для юр. лиц

сертифицирован

дилер

доставка
Прожектор инфракрасный периметровый ПИП-25/45 А предназначен для освещения объектов в инфракрасном спектре в условиях недостаточной освещенности и в полной темноте. Применяются в составе систем видеонаблюдения, совместно с видеокамерами день/ночь.
Прожектор имеет функции:
- включения/выключения от встроенного датчика освещённости,
- включения/выключения по команде реле сигнализации и т.п.,
- внешнего управления режимом день/ночь видеокамеры (при наличии у неё данной опции),
- антифары задержка выключения на 1 минуту при засветке датчика освещённости прожектора фарами автомобиля.
ПИП-25/45 А имеет защиту от переполюсовки.
Выпускается по техническим условиям ТУ 26.30.50-077-31006686-2017.
Прожектор соответствует:
- техническим требованиям ГОСТ Р 51558,
- требованиям безопасности ГОСТ Р МЭК 60065,
- требованиям ЭМС ГОСТ Р 50009, ГОСТ 30804.3.2, ГОСТ 30804.3.3,
- степени защиты от поражения электрическим током III классу по ГОСТ 12.2.007.0,
- климатическому исполнению УХЛ1, 5 по ГОСТ 15150,
- степени защиты IP66/IP68 по ГОСТ 14254.
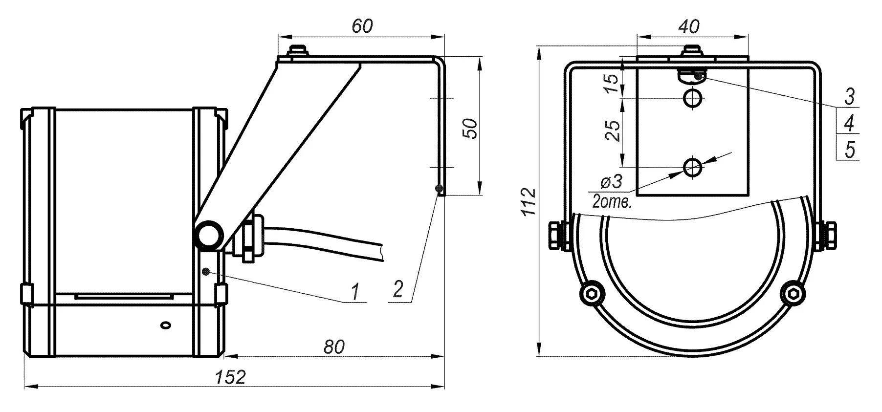
УСТАНОВКА ПРОЖЕКТОРА НА ВИДЕОКАМЕРУ

| 1. | Прожектор | 1 шт. |
| 2. | Кронштейн | 1 шт. |
| 3. | Кабель питания/управления (4х0.5мм L=1 м, другая длина по отдельной заявке) | 1 шт. |
| 4. | Винт М5х10 | 2 шт. |
| 5. | Гайка М5 | 2 шт. |
| 6. | Шайба 5 | 2 шт. |
| 7. | Шайба стопорная 5 | 2 шт. |
ВАРИАНТЫ ПИТАНИЯ, УПРАВЛЕНИЯ ПИТАНИЕ НЕПОСРЕДСТВЕННО ОТ ИСТОЧНИКА ПИТАНИЯ ИЛИ ЧЕРЕЗ КОРОБКУ МОНТАЖНУЮ (КМ), ВКЛЮЧЕНИЕ/ВЫКЛЮЧЕНИЕ ОТ ВСТРОЕННОГО ДАТЧИКА ОСВЕЩЁННОСТИ

ПИТАНИЕ ОТ ИСТОЧНИКА ПИТАНИЯ ТЕРМОКОЖУХА ВИДЕОКАМЕРЫ, ВКЛЮЧЕНИЕ/ВЫКЛЮЧЕНИЕ ОТ РЕЛЕ ВИДЕОКАМЕРЫ ИЛИ ОТ ВСТРОЕННОГО ДАТЧИКА ОСВЕЩЁННОСТИ

ПИТАНИЕ ЧЕРЕЗ КОРОБКУ МОНТАЖНУЮ (КМ), ВКЛЮЧЕНИЕ/ВЫКЛЮЧЕНИЕ ПО КОМАНДЕ ИЛИ ОТ ВСТРОЕННОГО ДАТЧИКА ОСВЕЩЁННОСТИ

СХЕМЫ ПОДКЛЮЧЕНИЯ ПРОЖЕКТОРА ВКЛЮЧЕНИЕ/ВЫКЛЮЧЕНИЕ ПО КОМАНДЕ (ЗАДЕРЖКА ВЫКЛЮЧЕНИЯ 1 МИН) И ОТ ВСТРОЕННОГО ДАТЧИКА ОСВЕЩЁННОСТИ И УПРАВЛЕНИЕ РЕЖИМОМ ДЕНЬ/НОЧЬ ВИДЕОКАМЕРЫ

ВКЛЮЧЕНИЕ/ВЫКЛЮЧЕНИЕ ТОЛЬКО ОТ ВСТРОЕННОГО ДАТЧИКА ОСВЕЩЁННОСТИ

УСТАНОВКА ПРОЖЕКТОРА НА КРОНШТЕЙН НАСТЕННЫЙ

1 прожектор, 2 кронштейн, 3 винт М5х10, 4 шайба 5, 5 шайба стопорная 5
Характеристика ПИП-25/45 А
Дальность с ТВ камерой с чувств. 0,005 лк*, м 25
Предельная дальность с освещенностью 1 лк, м 35
Угол освещения 45
Напряжение питания, В DC 12 10 %**
Мощность потребления, Вт
в режиме освещения 6,5 / 9,5 (обогрев 3 Вт)
в ждущем режиме 0,25 / 3,25
Порог включения, лк 10 5
Цветовая температура, К 850
Длина кабеля питания/управления (4х0,5 мм), м 1
Максимальная длина кабеля управления***(рис.), м, не более 300
Диапазон температуры окружающей среды при эксплуатации, С -60 +50
Влажность воздуха при +25 С, % до 100
Масса с упаковкой, кг, не более 1,0
Материал корпуса сплав алюминиевый, покрытие краска порошковая RAL9002****
Режим работы круглосуточный
ВНИМАНИЕ!! Минимальная сумма заказа 3000 руб.
В онлайн гипермаркете Device Den вы можете оплатить заказ через:
- Безналичный расчёт (доступен для юридических лиц)
- Оплата картой онлайн
Для выбора оплаты товара с помощью банковской карты на странице заказа необходимо выбрать способ оплаты «Оплата картой онлайн». Оплата происходит через платёжную систему Robokassa с использованием банковских карт следующих платежных систем: Мир, Visa и MasterCard
Принимаем оплату только в рублях. Цены всех товаров, кроме лицензий на программное обеспечение, включают в себя НДС.
Мы не принимаем карты American Express.
Описание процесса передачи данных
Для оплаты (ввода реквизитов Вашей карты) Вы будете перенаправлены на платёжный шлюз платежного сервиса Робокасса. Соединение с платёжным шлюзом и передача информации осуществляется в защищённом режиме с использованием протокола шифрования SSL. В случае если Ваш банк поддерживает технологию безопасного проведения интернет-платежей Verified By Visa, MasterCard SecureCode, MIR Accept, J-Secure для проведения платежа также может потребоваться ввод специального пароля.
Настоящий сайт поддерживает 256-битное шифрование. Конфиденциальность сообщаемой персональной информации обеспечивается платежным сервисом Робокасса. Введённая информация не будет предоставлена третьим лицам за исключением случаев, предусмотренных законодательством РФ. Проведение платежей по банковским картам осуществляется в строгом соответствии с требованиями платёжных систем МИР, Visa Int., MasterCard Europe Sprl, JCB.
Курьерская доставка в нашем магазине работает с 9:00 до 23:00 без выходных по Москве и ближайшей МО. Обратите внимание, что курьер передает товар для проверки только после оплаты и не консультирует по приобретённому товару. Доставка во все регионы России осуществляется круглосуточно с помощью транспортных компаний. Самовывоз из офиса доступен с пн-пт с 10:00 до 18:00.
- При сумме заказа менее 70 000 рублей - 590 рублей;
- При сумме заказа более 70 000 рублей - бесплатно.
- При сумме заказа менее 150 000 рублей - 890 рублей;
- При сумме заказа более 150 000 рублей - бесплатно.
Примечание! Есть исключения по отправке крупногабаритных грузов.
ВНИМАНИЕ! Отправка заказа в регионы России осуществляется только после 100% предоплаты.
- При наличии товара на складе доставка осуществляется на следующий день;
- Возможна экспресс доставка при оформлении заказа до 12:00 текущего дня;
- При отсутствии товара на складе сроки поставки уточняйте у менеджера.
- Срок доставки в регионы России может составлять от 1 до 14 дней в зависимости от удалённости региона и выбранного способа доставки.
Примечание! Возможна доставка товара до транспортной компании в день оформления заказа.





Примечание! По просьбе клиентов отправляем заказ любой другой транспортной компанией.
Теги: Тахион ПИП-25/45А, Максимальная рабочая температура:+50, Минимальная рабочая температура:-60, Цвет:Белый, Дальность, min:25, Дальность, max:35, Угол обзора:45, Напряжение питания:12VDC, Потребляемая мощность, Вт:9.5, Длина волны:850, Класс защиты (IP):IP68