AccordTec ББП-12/1 Li-ion
- Производитель: AccordTec
- Пришлите полную спецификацию на почту zakaz@deviceden.ru и получите оптовую скидку.
- Срок доставки:1-2 дня
- Минимальный заказ:3000 руб.
- Мы принимаем:Безналичная оплата для юр. лиц

сертифицирован

дилер

доставка
Особенности:
Условия эксплуатации
Климатические условия:
- температура окружающей среды от -20°С до +65°С,
- относительная влажность воздуха не более 95% (при температуре +24°С и ниже).
Не допускается присутствие в воздухе паров агрессивных сред (кислот, щелочей и пр.).
Конструкция изделия предусматривает использование исключительно в закрытых помещениях.
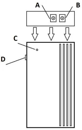
A – Вход, B – Выход, C – Светодиодный индикатор, D – Кнопка вкл/выкл.
Внешний аккумулятор упакован в полиэтиленовый пакет и уложен в коробку из картона.
На корпусе блока питания указаны:
- наименование Предприятия-изготовителя (товарный знак),
- наименование или условное обозначение блока питания.
Маркировка потребительской тары содержит наименование Предприятия?изготовителя (товарный знак).
Подготовка и экксплуатация
Подключите подходящий источник постоянного тока к входному разъему внешнего аккумулятора. Подключите нагрузку к выходному разъему внешнего аккумулятора с помощью кабеля питания. Подайте питающее напряжение.
Скорость разрядки батареи при хранении зависит от климатических условий, поэтому необходимо соблюдать оптимальный температурный режим при длительном хранении устройства. Перед отправкой на хранение пожалуйста зарядите полностью батарею. Так же, в течение всего времени хранения устройства, необходимо иногда заряжать батарею для поддержания полной работоспособности и во избежание полной разрядки батареи.
- Модель: ББП-12/1 Li-ion
- Бесперебойный, Внешний аккумулятор
- Постоянное выходное напряжение при работе от АКБ: 12 В DC
- Ток нагрузки: 1 А
- Ток заряда АКБ, не более: Автоматическая подстройка
- Тип аккумулятора: Li-ion
- Габариты, мм: 111 х 60 х 26
- Рабочая температура: от -20 до +65
- Особенности: Емкость батареи: 14,8 Вт*ч
- Защита от короткого замыкания и перегрузки: Есть, электронная
- Материал корпуса: пластик
- Выходное напряжение: 12 В DC
- Ток потребления: 1 А
- Цвет корпуса: черный
- Вес, г: 195
- Тип изделия: Блок бесперебойного питания( Внешний аккумулятор) со встроенной Li-ion батареей
- Относительная влажность, %: не более 95
- Емкость батареи, Вт*ч: 14,8
- Входное напряжение, В: 12
- Выходное напряжение, В: 12
- Входной ток, А: 1
- Выходной ток, А: 1
ВНИМАНИЕ!! Минимальная сумма заказа 3000 руб.
В онлайн гипермаркете Device Den вы можете оплатить заказ через:
- Безналичный расчёт (доступен для юридических лиц)
- Оплата картой онлайн
Для выбора оплаты товара с помощью банковской карты на странице заказа необходимо выбрать способ оплаты «Оплата картой онлайн». Оплата происходит через платёжную систему Robokassa с использованием банковских карт следующих платежных систем: Мир, Visa и MasterCard
Принимаем оплату только в рублях. Цены всех товаров, кроме лицензий на программное обеспечение, включают в себя НДС.
Мы не принимаем карты American Express.
Описание процесса передачи данных
Для оплаты (ввода реквизитов Вашей карты) Вы будете перенаправлены на платёжный шлюз платежного сервиса Робокасса. Соединение с платёжным шлюзом и передача информации осуществляется в защищённом режиме с использованием протокола шифрования SSL. В случае если Ваш банк поддерживает технологию безопасного проведения интернет-платежей Verified By Visa, MasterCard SecureCode, MIR Accept, J-Secure для проведения платежа также может потребоваться ввод специального пароля.
Настоящий сайт поддерживает 256-битное шифрование. Конфиденциальность сообщаемой персональной информации обеспечивается платежным сервисом Робокасса. Введённая информация не будет предоставлена третьим лицам за исключением случаев, предусмотренных законодательством РФ. Проведение платежей по банковским картам осуществляется в строгом соответствии с требованиями платёжных систем МИР, Visa Int., MasterCard Europe Sprl, JCB.
Курьерская доставка в нашем магазине работает с 9:00 до 23:00 без выходных по Москве и ближайшей МО. Обратите внимание, что курьер передает товар для проверки только после оплаты и не консультирует по приобретённому товару. Доставка во все регионы России осуществляется круглосуточно с помощью транспортных компаний. Самовывоз из офиса доступен с пн-пт с 10:00 до 18:00.
- При сумме заказа менее 70 000 рублей - 590 рублей;
- При сумме заказа более 70 000 рублей - бесплатно.
- При сумме заказа менее 150 000 рублей - 890 рублей;
- При сумме заказа более 150 000 рублей - бесплатно.
Примечание! Есть исключения по отправке крупногабаритных грузов.
ВНИМАНИЕ! Отправка заказа в регионы России осуществляется только после 100% предоплаты.
- При наличии товара на складе доставка осуществляется на следующий день;
- Возможна экспресс доставка при оформлении заказа до 12:00 текущего дня;
- При отсутствии товара на складе сроки поставки уточняйте у менеджера.
- Срок доставки в регионы России может составлять от 1 до 14 дней в зависимости от удалённости региона и выбранного способа доставки.
Примечание! Возможна доставка товара до транспортной компании в день оформления заказа.





Примечание! По просьбе клиентов отправляем заказ любой другой транспортной компанией.
Теги: AccordTec ББП-12/1 Li-ion, Цвет:Черный, Корпус:Пластик, Класс защиты (IP):Нет, Выходной ток:1, Встроенный АКБ:Нет