Тахион ТГБ-7 ТВ-220/12
- Производитель: Тахион
- Пришлите полную спецификацию на почту zakaz@deviceden.ru и получите оптовую скидку.
- Срок доставки:1-2 дня
- Минимальный заказ:3000 руб.
- Мы принимаем:Безналичная оплата для юр. лиц

сертифицирован

дилер

доставка
Гермобокс предназначен для установки видеокамеры тепловизионной (тепловизора) с объективом и защиты его от воздействия окружающей среды (влаги и отрицательных температур).
Изделие обеспечивает:
Модуль видеокамеры изолирован от корпуса гермобокса.
Изделие выпускается по техническим условиям ТУ 4372-026-31006686-2011.
Климатическое исполнение гермобокса соответствует УХЛ1.5 ГОСТ 15150-69. Степень защиты IP 66.
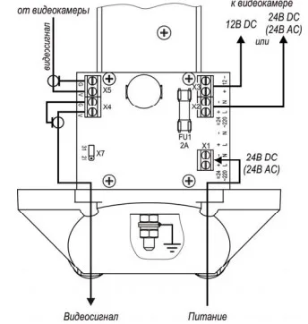
Схема подключения IP-видеокамеры

- Гермобокс ТГБ-7 ТВ в сборе - 1 шт.
- Кронштейн - 1 шт.
- Солнцезащитный козырёк - 1 шт. Комплект крепления видеокамеры:
болт с дюймовой резьбой UNC 1/4x1/2 (L 12,7мм) - 1 шт.
болт с дюймовой резьбой UNC 1/4x3/4 (L 19мм) - 1 шт.
шайба для установки видеокамеры (Ø20мм, h 6мм) - 2 шт. - Паспорт - 1 шт.
- Силикагель - 1 шт.
- Упаковочная тара - 1 шт.
Комплектация:
Технические характеристики
- Стекло: Материал Ge (ГМО 5-40 Ом х см); чистая апертура 90%; качество полировки 60/40 scr/dig; покрытие DLC/BBAR 7-14 мкм
- Напряжение питания: ~220 В ±10%
- Напряжение/ток внутреннего источника питания: 12 В ±10% DC / 0,7 А; 220 В ±10% АC / 0,1 А
- Температура вкл./откл. обогрева: 20°С±3°С / 25°С±3°С
- Мощность обогрева: 31 Вт/21 Вт
- Максимальный потребляемый ток (включая видеокамеру): 1,6А / 1,2А
- Диапазон рабочих температур: - 60°С ÷ +50°С / - 40°С ÷ +50°С
- Температура холодного запуска откл./вкл.: -10°С±3°С / 0°С±3°С
- Вес с упаковкой: не более 3,5 кг
- Режим работы: круглосуточный
ВНИМАНИЕ!! Минимальная сумма заказа 3000 руб.
В онлайн гипермаркете Device Den вы можете оплатить заказ через:
- Безналичный расчёт (доступен для юридических лиц)
- Оплата картой онлайн
Для выбора оплаты товара с помощью банковской карты на странице заказа необходимо выбрать способ оплаты «Оплата картой онлайн». Оплата происходит через платёжную систему Robokassa с использованием банковских карт следующих платежных систем: Мир, Visa и MasterCard
Принимаем оплату только в рублях. Цены всех товаров, кроме лицензий на программное обеспечение, включают в себя НДС.
Мы не принимаем карты American Express.
Описание процесса передачи данных
Для оплаты (ввода реквизитов Вашей карты) Вы будете перенаправлены на платёжный шлюз платежного сервиса Робокасса. Соединение с платёжным шлюзом и передача информации осуществляется в защищённом режиме с использованием протокола шифрования SSL. В случае если Ваш банк поддерживает технологию безопасного проведения интернет-платежей Verified By Visa, MasterCard SecureCode, MIR Accept, J-Secure для проведения платежа также может потребоваться ввод специального пароля.
Настоящий сайт поддерживает 256-битное шифрование. Конфиденциальность сообщаемой персональной информации обеспечивается платежным сервисом Робокасса. Введённая информация не будет предоставлена третьим лицам за исключением случаев, предусмотренных законодательством РФ. Проведение платежей по банковским картам осуществляется в строгом соответствии с требованиями платёжных систем МИР, Visa Int., MasterCard Europe Sprl, JCB.
Курьерская доставка в нашем магазине работает с 9:00 до 23:00 без выходных по Москве и ближайшей МО. Обратите внимание, что курьер передает товар для проверки только после оплаты и не консультирует по приобретённому товару. Доставка во все регионы России осуществляется круглосуточно с помощью транспортных компаний. Самовывоз из офиса доступен с пн-пт с 10:00 до 18:00.
- При сумме заказа менее 70 000 рублей - 590 рублей;
- При сумме заказа более 70 000 рублей - бесплатно.
- При сумме заказа менее 150 000 рублей - 890 рублей;
- При сумме заказа более 150 000 рублей - бесплатно.
Примечание! Есть исключения по отправке крупногабаритных грузов.
ВНИМАНИЕ! Отправка заказа в регионы России осуществляется только после 100% предоплаты.
- При наличии товара на складе доставка осуществляется на следующий день;
- Возможна экспресс доставка при оформлении заказа до 12:00 текущего дня;
- При отсутствии товара на складе сроки поставки уточняйте у менеджера.
- Срок доставки в регионы России может составлять от 1 до 14 дней в зависимости от удалённости региона и выбранного способа доставки.
Примечание! Возможна доставка товара до транспортной компании в день оформления заказа.





Примечание! По просьбе клиентов отправляем заказ любой другой транспортной компанией.
Теги: Тахион, Тахион ТГБ-7 ТВ-220/12, Предзаказ, Класс защиты, IP66, Форм-фактор, Стандартный, Температурный режим, От -60 градусов, Питание, Uвх/Uвых, 220VAC, 12VDC, Полезный объем, мм, 70x70x215, Общие размеры, мм, 127x127x420, Кронштейн в комплекте, Есть, Встроенный вентилятор, Нет, Цвет, Серый, 125 850 руб.