ELTIS DP400-RDC16СF
- Производитель: ELTIS
- Пришлите полную спецификацию на почту zakaz@deviceden.ru и получите оптовую скидку.
- Срок доставки:1-2 дня
- Минимальный заказ:3000 руб.
- Мы принимаем:Безналичная оплата для юр. лиц

сертифицирован

дилер

доставка
Блок вызова DP400-RDС16CF
До 100 абонентов. Построение систем для подъездов с одним входом. Подключение пульта консьержа. Замена блоков вызова Цифрал CCD-2094 с сохранением установленных коммутаторов и абонентских устройств.
Встроенная малозаметная цветная видеокамера, разрешение 650 ТВЛ., высокая чувствительность, режимы день/ночь, компенсация задней засветки. Развязка питания видеокамеры и аудиотракта для снижения помех и возможности подключения к видеорегистраторам.
До 700 уникальных ключей бесконтактных брелоков ELTIS RF2.1. Программирование брелоков на блоке вызова и из базы данных.
Вандалозащищенный врезной корпус, горизонтальное исполнение. Защита динамика и микрофона. Ударопрочный яркий индикатор номера вызываемой квартиры. Клавиатура с защитой от продавливания, подсветка в темное время суток. Защита от статического электричества и шокеров. Повышенная устойчивость к неблагоприятным климатическим условиям.
Oбновление программного обеспечения домофона без демонтажа. Заводская настройка аудиотракта. Возможность регулировки громкости служебных сигналов. Многоуровневая защита от несанкционированного доступа с изменяемыми паролями. Возможность обслуживания с использованием централизованной базы данных.

Внешний вид блоков вызова

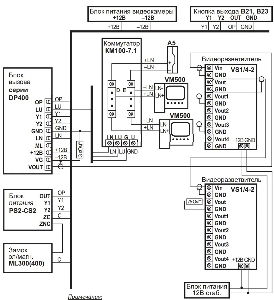
Примечание: *Резистор 3кОм используется только при применении видеомониторов серии VIZIT
В комплект поставки домофонного комплекса на основе БВ серии DP400 входят:
- Блок вызова серии DP400 1 шт.
- Табличка с правилами пользования домофоном 1 шт.
- Резистор CR25 75 Ом - 1 шт.
- Резистор CR25 3 кОм - 1 шт.
- Комплект крепления - 1 шт.
- Паспорт - 1 шт.
- Коробка упаковочная - 1 шт.
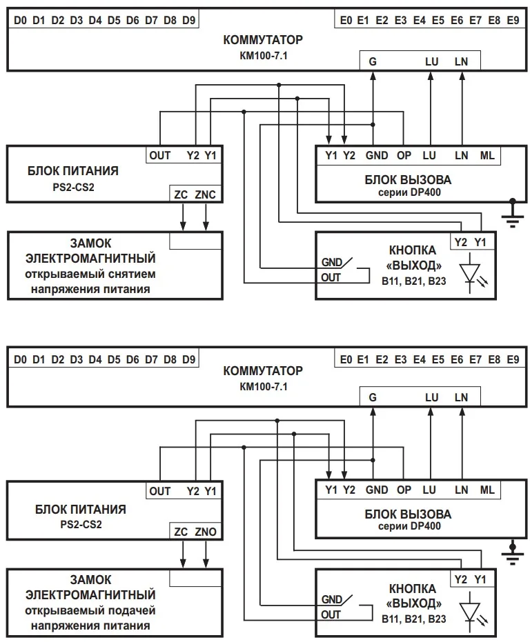
Монтажная схема соединения блоков домофона

Схемы подключения различных типов замков, не имеющих собственной схемы управления.

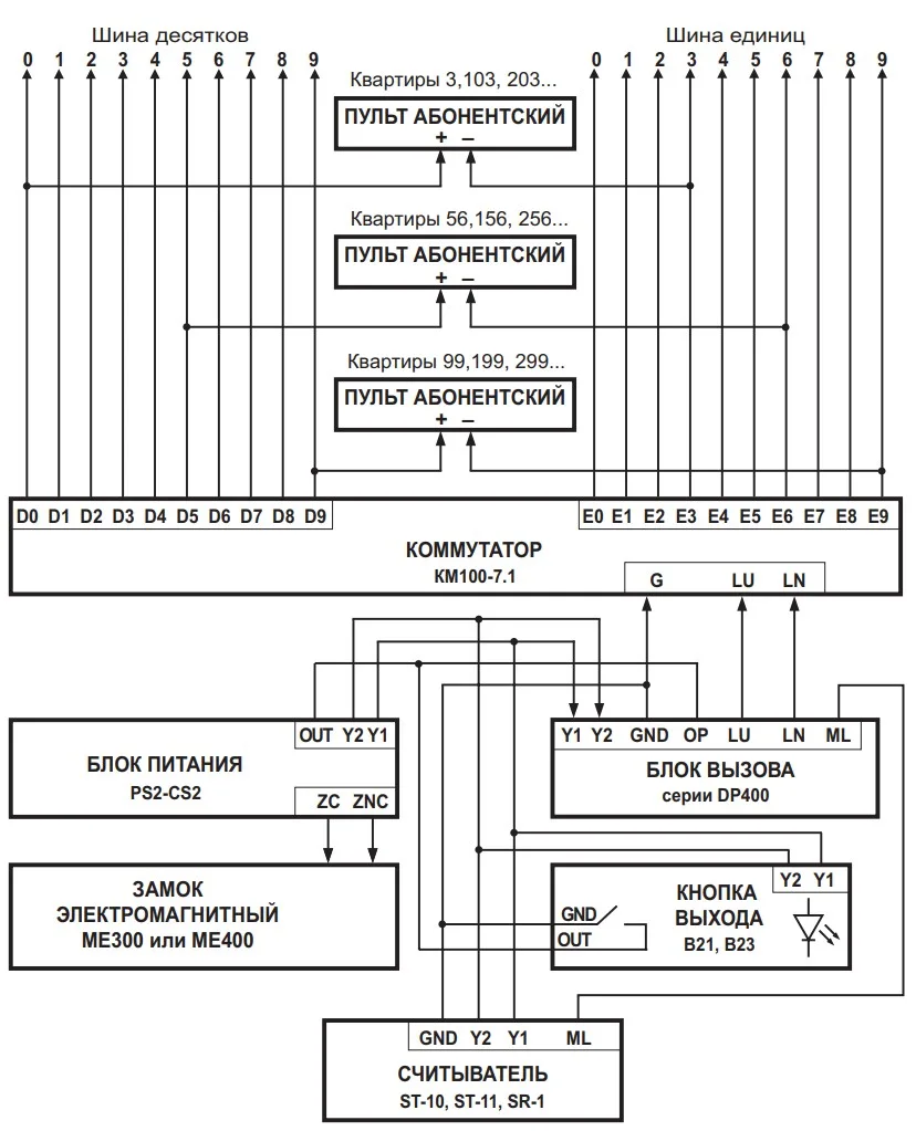
Пример схемы подключения БВ серии DP400 в составе домофонного комплекса

Примечания: Резистор 3кОм используется только при применении ПА VIZIT
- Тип кабеля связи с коммутатором: Трехпроводный*
- Максимальное количество абонентов: 100
- Максимально допустимый номер квартиры: 1999
- Количество цифр в общем коде: 4
- Количество цифр в индивидуальном коде: 4
- Допустимое число попыток подбора кода или пароля: 3
- Максимальное количество электронных ключей, записываемых в память БВ: 700
- Количество комбинаций электронного ключа: 2*24
- Время, отведенное на ввод одной цифры номера квартиры, сек., не более: 5
- Длительность сигнала вызова, сек., не более: 60
- Длительность разговора с посетителем, сек., не более: 90
- Время срабатывания электромагнитного замка, сек., не более: 1...9
- Максимальная мощность потребления (без электромагнитного замка), Вт: 7
- Максимально допустимое сопротивление линии связи, Ом: 30
- Напряжение питания блока вызова, В: ~13...15, (+1621)
- Напряжение питания видеокамеры, В: 12 10%
- Максимальный ток потребления видеокамеры, мА: 150
- Минимальная освещенность, люкс: днем 0,5
- Ночью 0,01
- Видеостандарт: PAL 752x582
- Габаритные размеры, мм, не более: 210х125х40
- Масса, кг, не более: 0,8
* Тип прокладки кабелей связи между коммутатором и пультами абонентскими координатно-матричный.
Блок вызова соответствует климатическому исполнению УХЛ1.1 по ГОСТ15150-69:
- температура окружающей среды (-40...+40)С,
- относительная влажность до 98% при 25С 6 мес. в году,
- атмосферное давление (650...800) мм. рт. ст.
ВНИМАНИЕ!! Минимальная сумма заказа 3000 руб.
В онлайн гипермаркете Device Den вы можете оплатить заказ через:
- Безналичный расчёт (доступен для юридических лиц)
- Оплата картой онлайн
Для выбора оплаты товара с помощью банковской карты на странице заказа необходимо выбрать способ оплаты «Оплата картой онлайн». Оплата происходит через платёжную систему Robokassa с использованием банковских карт следующих платежных систем: Мир, Visa и MasterCard
Принимаем оплату только в рублях. Цены всех товаров, кроме лицензий на программное обеспечение, включают в себя НДС.
Мы не принимаем карты American Express.
Описание процесса передачи данных
Для оплаты (ввода реквизитов Вашей карты) Вы будете перенаправлены на платёжный шлюз платежного сервиса Робокасса. Соединение с платёжным шлюзом и передача информации осуществляется в защищённом режиме с использованием протокола шифрования SSL. В случае если Ваш банк поддерживает технологию безопасного проведения интернет-платежей Verified By Visa, MasterCard SecureCode, MIR Accept, J-Secure для проведения платежа также может потребоваться ввод специального пароля.
Настоящий сайт поддерживает 256-битное шифрование. Конфиденциальность сообщаемой персональной информации обеспечивается платежным сервисом Робокасса. Введённая информация не будет предоставлена третьим лицам за исключением случаев, предусмотренных законодательством РФ. Проведение платежей по банковским картам осуществляется в строгом соответствии с требованиями платёжных систем МИР, Visa Int., MasterCard Europe Sprl, JCB.
Курьерская доставка в нашем магазине работает с 9:00 до 23:00 без выходных по Москве и ближайшей МО. Обратите внимание, что курьер передает товар для проверки только после оплаты и не консультирует по приобретённому товару. Доставка во все регионы России осуществляется круглосуточно с помощью транспортных компаний. Самовывоз из офиса доступен с пн-пт с 10:00 до 18:00.
- При сумме заказа менее 70 000 рублей - 590 рублей;
- При сумме заказа более 70 000 рублей - бесплатно.
- При сумме заказа менее 150 000 рублей - 890 рублей;
- При сумме заказа более 150 000 рублей - бесплатно.
Примечание! Есть исключения по отправке крупногабаритных грузов.
ВНИМАНИЕ! Отправка заказа в регионы России осуществляется только после 100% предоплаты.
- При наличии товара на складе доставка осуществляется на следующий день;
- Возможна экспресс доставка при оформлении заказа до 12:00 текущего дня;
- При отсутствии товара на складе сроки поставки уточняйте у менеджера.
- Срок доставки в регионы России может составлять от 1 до 14 дней в зависимости от удалённости региона и выбранного способа доставки.
Примечание! Возможна доставка товара до транспортной компании в день оформления заказа.





Примечание! По просьбе клиентов отправляем заказ любой другой транспортной компанией.
Теги: ELTIS, ELTIS DP400-RDC16СF, Предзаказ, Разрешение, 650 твл, Цвет, Бронзовый антик, Материал, Металл, Тип, Функциональный модуль для дверной станции, Температура работы, От -40 до +40, Открытие через интернет, Нет, Способ монтажа, Скрытой установки, Защита от вандализма (антивандальный), Да, Регулируемая вручную камера, Нет, С камерой, Да, Технология/способ установки, Многопроводной, Тип соединения устройств, Проводное, Система изображения, PAL, 9 137 руб.