CTV-M5102AHD W
- Производитель: CTV
- Пришлите полную спецификацию на почту zakaz@deviceden.ru и получите оптовую скидку.
- Срок доставки:1-2 дня
- Минимальный заказ:3000 руб.
- Мы принимаем:Безналичная оплата для юр. лиц

сертифицирован

дилер

доставка
CTV-M5102 Монитор видеодомофона с Wi-Fi.
Монитор видеодомофона с 10 сенсорным дисплеем, поддержкой формата AHD и записью в Full HD. С удаленным доступом со смартфона через приложение CTV Home.
Функциональные особенности
- IPS дисплей диагональю 10 дюймов
- Тонкий корпус со встроенным источником питания
- Технология Touch Screen для управления и настройки монитора
- Удаленное управление с моб. устройств через приложение CTV Home
- Поддержка работы по сети (LAN)
- Встроенный модуль Wi-Fi
- Видеоархив в облаке
- Складная Wi-Fi антенна
- Поддержка форматов AHD (720P, 1080P), TVI (720P, 1080P), CVI (720P, 1080P) и CVBS (960H)
- Функция фоторамки
- Поддержка детектора движения по всем каналам
- Возможность подключения до 2 вызывных панелей
- Возможность подключения в систему до 2 дополнительных охранных видеокамер
- Встроенные функции автоответчика
- Поддержка карт памяти до 128 ГБ
- Воспроизведение аудиофайлов в формате mp3
- Воспроизведение видеофайлов в формате mp4 или avi
- Дистанционное управление электрозамком
- Информационный выход HOOK для работы с подъездными домофонами
- Цвет корпуса: белый/черный
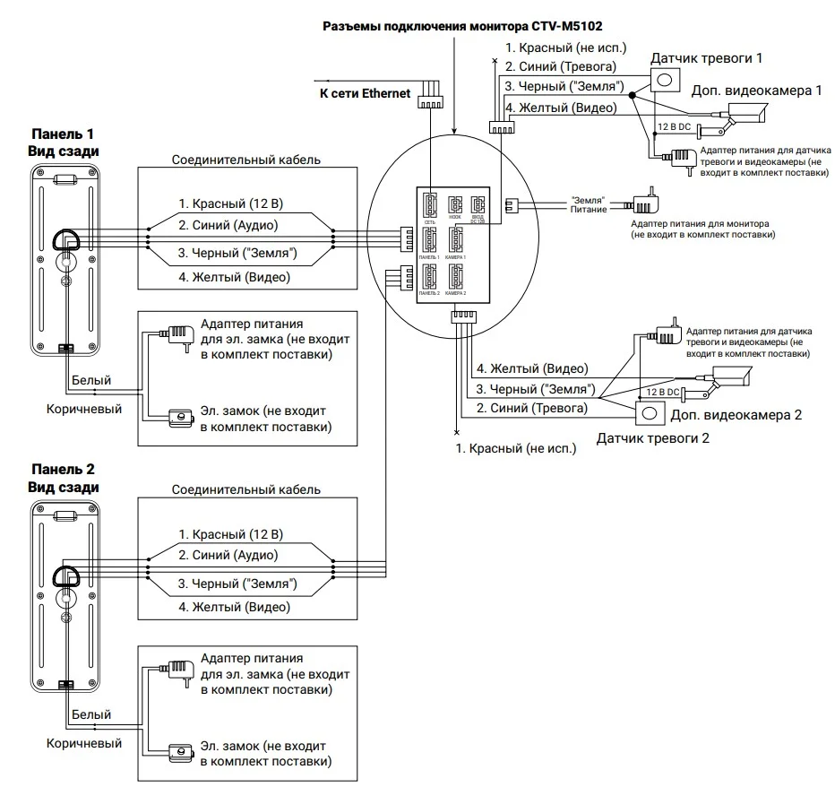
Схема подключения вызывной панели

Схема подключения дополнительных устройств

Комплект поставки:
- Монитор CTV-M5102 с кабелем питания 220В
- Монтажная пластина для крепления монитора на стене
- Коннекторы для подключения вызывных панелей и камер (4 контакта) 4 шт.
- Коннектор для подключения внешнего блока питания (2 контакта) 1 шт.
- Коннектор для подключения Hook-сигнала (2 контакта) 1 шт.
- Ethernet-переходник для проводного подключения к сети (4 контакта 8p8c/f) 1 шт.
- Крепежный комплект:
- дюбели 4 шт.
- саморезы 4 шт.

- Дисплей: 10 IPS LCD (16:9), сенсорный
- Разрешение, пикселей: 1024 x 600
- Стандарт видео: PAL/NTSC
- Формат видео: AHD, TVI, CVI, CVBS
- Разрешение видео: 1080p, 720р, 960H
- Тип аудиосвязи: Hands free, полудуплекс
- Поканальная настройка видео: Да
- Продолжительность сеанса вызова: 120 сек
- Функция автоответчика: Да
- Запись: фото, видео
- Детектор движения: да, 4 канала
- Поддержка карт памяти: MicroSD class 10 (128Гб)
- LAN: 100 Мбит/с
- WiFi: IEEE 802,11 b/g/n
- Поддержка мобильных устройств: iOS, Android
- Напряжение питания: АС 100-240 Вольт/DC 12B,1,5А
- Рабочая температура: 0...+50С
- Размеры (ШхВхГ): 164x224x24 мм
- Вес (нетто): 0,8 кг
ВНИМАНИЕ!! Минимальная сумма заказа 3000 руб.
В онлайн гипермаркете Device Den вы можете оплатить заказ через:
- Безналичный расчёт (доступен для юридических лиц)
- Оплата картой онлайн
Для выбора оплаты товара с помощью банковской карты на странице заказа необходимо выбрать способ оплаты «Оплата картой онлайн». Оплата происходит через платёжную систему Robokassa с использованием банковских карт следующих платежных систем: Мир, Visa и MasterCard
Принимаем оплату только в рублях. Цены всех товаров, кроме лицензий на программное обеспечение, включают в себя НДС.
Мы не принимаем карты American Express.
Описание процесса передачи данных
Для оплаты (ввода реквизитов Вашей карты) Вы будете перенаправлены на платёжный шлюз платежного сервиса Робокасса. Соединение с платёжным шлюзом и передача информации осуществляется в защищённом режиме с использованием протокола шифрования SSL. В случае если Ваш банк поддерживает технологию безопасного проведения интернет-платежей Verified By Visa, MasterCard SecureCode, MIR Accept, J-Secure для проведения платежа также может потребоваться ввод специального пароля.
Настоящий сайт поддерживает 256-битное шифрование. Конфиденциальность сообщаемой персональной информации обеспечивается платежным сервисом Робокасса. Введённая информация не будет предоставлена третьим лицам за исключением случаев, предусмотренных законодательством РФ. Проведение платежей по банковским картам осуществляется в строгом соответствии с требованиями платёжных систем МИР, Visa Int., MasterCard Europe Sprl, JCB.
Курьерская доставка в нашем магазине работает с 9:00 до 23:00 без выходных по Москве и ближайшей МО. Обратите внимание, что курьер передает товар для проверки только после оплаты и не консультирует по приобретённому товару. Доставка во все регионы России осуществляется круглосуточно с помощью транспортных компаний. Самовывоз из офиса доступен с пн-пт с 10:00 до 18:00.
- При сумме заказа менее 70 000 рублей - 590 рублей;
- При сумме заказа более 70 000 рублей - бесплатно.
- При сумме заказа менее 150 000 рублей - 890 рублей;
- При сумме заказа более 150 000 рублей - бесплатно.
Примечание! Есть исключения по отправке крупногабаритных грузов.
ВНИМАНИЕ! Отправка заказа в регионы России осуществляется только после 100% предоплаты.
- При наличии товара на складе доставка осуществляется на следующий день;
- Возможна экспресс доставка при оформлении заказа до 12:00 текущего дня;
- При отсутствии товара на складе сроки поставки уточняйте у менеджера.
- Срок доставки в регионы России может составлять от 1 до 14 дней в зависимости от удалённости региона и выбранного способа доставки.
Примечание! Возможна доставка товара до транспортной компании в день оформления заказа.





Примечание! По просьбе клиентов отправляем заказ любой другой транспортной компанией.
Теги: CTV-M5102AHD W, Диагональ экрана:10, Назначение:Для дачи, для дома, для квартиры, Тип:Видеодомофон, Подключение аудиотрубки:Да, Способ монтажа:Накладной, настенный, Протокол связи:Wi-Fi, Система изображения:AHD, CVBS, PAL, NTSC, Тип связи:Полудуплексный, Рабочая температура (мин), °C:0, Комплектация:Монитор, Место установки:Внутренние, Количество камер:2, Подключение дополнительных мониторов:4, Подключение вызывных панелей:2, Подключение:Проводное, Внутренняя связь / Интерком:Да, Общий вызов:Да, Технология:4 проводная, Разрешение монитора:600p, Тип кнопок:Сенсорные, Кнопка отпирания замка:Да, Датчик движения:Да, Цвет внутренних блоков:Белый, Материал внутренних блоков:Пластик, Умный домофон:С подключением к интернету, соединение со смартфоном, С памятью:Да, С записью:Встроенная память, на карту памяти